 
     
                            Захват для кип (тюков) серии T — надёжная навеска для работы с тюковыми грузами без паллет: хлопок, текстиль, гофрокартон, бумага, ветошь, сено, металл и др. Материал фиксируется за счёт плавного прижима, что ускоряет погрузку/разгрузку и снижает риск повреждения упаковки.
Серия T перекрывает широкий спектр задач по массе и габаритам: в линейке встречаются исполнения под каретки FEM/ISO классов II и III, с грузоподъёмностью типовых моделей 1,9–4,0 т (центр нагрузки 500–600 мм) и рабочим раскрытием примерно от 460 до 2460 мм — удобно как для компактных, так и для крупногабаритных кип.
Что получает склад
Быстрый, контролируемый цикл без лишних манёвров.
Равномерный прижим — аккуратная укладка на пол, стеллаж или в кузов.
Конструкция, рассчитанная на интенсивные смены и понятное обслуживание.
 
                             
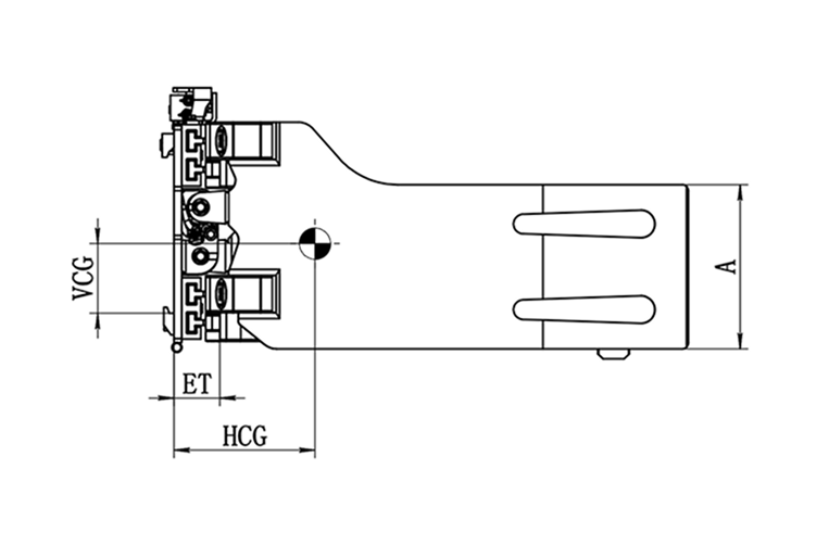
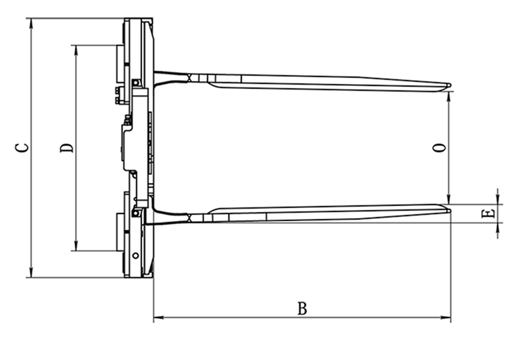
                            | Артикул | Г/п, кг | Центр тяж., мм | Класс каретки | Диап. раскр. O, мм | Выс. лап A, мм | Длина лап B, мм | Шир. рамы C, мм | Межкрюк. расст. D, мм | Толщ. лап E, мм | Вес, кг | Толщ. ET, мм | Верт. центр тяж. VCG, мм | Гор. центр тяж. HCG, мм | Г/п погруз., т | 
| RJ18ST-A1 | 1900 | 500 | II | 460-1700 | 418 | 1190 | 1040 | 825 | 70 | 460 | 117 | 175 | 360 | 1-2.5 | 
| RJ18ST-A2 | 1900 | 500 | II | 580-1955 | 418 | 1190 | 1100 | 885 | 70 | 530 | 117 | 177 | 320 | 1-2.5 | 
| RJ18ST-A3 | 1900 | 500 | II | 460-1755 | 418 | 1190 | 1040 | 825 | 70 | 470 | 117 | 177 | 358 | 1-2.5 | 
| RJ18ST-B1 | 1900 | 500 | III | 460-1755 | 418 | 1190 | 1040 | 889 | 70 | 490 | 122 | 225 | 344 | 3-4.5 | 
| RJ22ST-B1 | 2200 | 500 | III | 460-2325 | 460 | 1200 | 1680 | 1040 | 75 | 690 | 134 | 231 | 311 | 3-4.5 | 
| RJ22ST-B2 | 2200 | 500 | III | 600-2460 | 460 | 1200 | 1680 | 1040 | 75 | 710 | 134 | 232 | 307 | 3-4.5 | 
| RJ25ST-B1 | 2700 | 500 | III | 570-1880 | 460 | 1200 | 1010 | 950 | 75 | 610 | 132 | 222 | 337 | 3-4.5 | 
| RJ25ST-B5 | 2700 | 500 | III | 560-1930 | 460 | 1200 | 1100 | 970 | 75 | 600 | 132 | 228 | 341 | 3-4.5 | 
| RJ25ST-B17 | 2700 | 500 | III | 555-2125 | 460 | 1200 | 1265 | 1025 | 75 | 630 | 132 | 229 | 329 | 3-4.5 | 
| RJ25ST-B17-01 | 2700 | 500 | III | 550-2120 | 460 | 1370 | 1265 | 1025 | 75 | 670 | 132 | 225 | 390 | 3-4.5 | 
| RJ40ST-B2 | 4000 | 600 | III | 835-2205 | 490 | 1300 | 1300 | 1025 | 65 | 1180 | 206 | 260 | 318 | 3-4.5 | 
| RJ40ST-B3 | 4000 | 600 | III | 580-2130 | 490 | 1250 | 1300 | 1025 | 65 | 1160 | 206 | 280 | 307 | 3-4.5 | 
| RJ40ST-C1 | 4000 | 600 | IV | 580-2130 | 490 | 1250 | 1300 | 1015 | 65 | 1220 | 211 | 263 | 301 | 5-7 |