 
     
                            Захват для кип (тюков) серии J — навеска для бережного захвата, подъёма и укладки тюков без паллет. Подходит для хлопка, текстиля, гофрокартона, бумаги, ветоши, сена и даже металлических кип: широкие лапы распределяют давление и уменьшают риск смятия упаковки.
Что даёт серия J
Быстрый, аккуратный цикл погрузки/разгрузки в кузов, на пол или стеллаж.
Плавная кинематика и жёсткая рама — стабильно под нагрузкой.
Хорошая обзорность и предсказуемое «отпускание» груза.
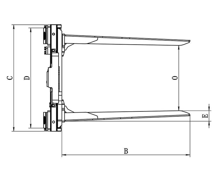
Диапазон и совместимость
Линейка закрывает типовые задачи склада и производства: грузоподъёмность модификаций 1,7–3,0 т при центре нагрузки 500 мм, раскрытие губок — от ~510–615 до 1925–2375 мм (в зависимости от версии). Доступны исполнения под каретки FEM/ISO II–III с оптимизированной толщиной навески для сохранения остаточной грузоподъёмности.
 
                             
                            | Артикул | Г/п, кг | Центр тяж., мм | Класс каретки | Диап. раскр. O, мм | Выс. лап A, мм | Длина лап B, мм | Шир. рамы C, мм | Межкрюк. расст. D, мм | Толщ. лап E, мм | Вес, кг | Толщ. ET, мм | Верт. центр тяж. VCG, мм | Гор. центр тяж. HCG, мм | 
| RJ20J-A1 | 1700 | 500 | II | 615-1925 | 550 | 1200 | 1010 | 920 | 100 | 580 | 159 | 247 | 313 | 
| RJ20J-A1-01 | 2200 | 500 | II | 615-1925 | 550 | 1200 | 1010 | 920 | 100 | 580 | 159 | 247 | 313 | 
| RJ20J-A2 | 2200 | 500 | II | 510-2375 | 475 | 1200 | 1680 | 900 | 100 | 640 | 159 | 240 | 237 | 
| RJ20J-A2-01 | 2200 | 500 | II | 510-2375 | 475 | 1200 | 1680 | 900 | 100 | 640 | 159 | 240 | 237 | 
| RJ20J-A3 | 2200 | 500 | II | 470-2310 | 475 | 1500 | 1680 | 1040 | 100 | 705 | 159 | 232 | 319 | 
| RJ20J-B1 | 3000 | 500 | III | 615-1925 | 475 | 1200 | 1010 | 950 | 100 | 540 | 159 | 240 | 277 | 
| RJ20J-B1-01 | 3000 | 500 | III | 615-1925 | 475 | 1200 | 1010 | 950 | 100 | 540 | 159 | 240 | 277 | 
| RJ20J-B2 | 3000 | 500 | III | 510-2375 | 475 | 1200 | 1680 | 1040 | 100 | 640 | 159 | 237 | 245 | 
| RJ20J-B2-01 | 3000 | 500 | III | 510-2375 | 475 | 1200 | 1680 | 1040 | 100 | 640 | 159 | 237 | 245 | 
| RJ20J-B3 | 3000 | 500 | III | 470-2310 | 475 | 1500 | 1680 | 1040 | 100 | 705 | 159 | 234 | 324 |