 
     
                            Захват для блоков серии F — навеска для аккуратной работы с пакетами кирпича, газобетона, плиткой и другими твёрдыми кубическими грузами без поддонов. Широкие лапы равномерно распределяют давление и бережно фиксируют блоки при снятии с пола, переносе и укладке на площадке, в кузове или на стеллаже. Такой подход ускоряет цикл, уменьшает число манёвров и снижает риск сколов кромок и повреждения упаковки.
Преимущества серии F
Равномерный прижим и плавная кинематика для чистой, предсказуемой подачи.
Сменные накладки лап под разные типы блоков; регулировка раскрытия под формат пакета.
Жёсткая рама, защищённая гидролиния и клапаны безопасности — надёжно в интенсивных сменах.
Экономия: работа без паллет и ручной перекладки снижает затраты и простои.
 
                             
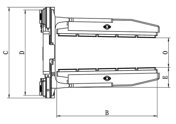
                            | Артикул | Г/п, кг | Центр тяж., мм | Класс каретки | Диап. раскр. O, мм | Выс. лап A, мм | Длина лап B, мм | Шир. рамы C, мм | Межкрюк. расст. D, мм | Толщ. лап E, мм | Вес, кг | Толщ. ET, мм | Верт. центр тяж. VCG, мм | Гор. центр тяж. HCG, мм | 
| ZK15F-B1 | 1800 | 600 | III | 290-1600 | 160 | 1230 | 1100 | 970 | 191 | 680 | 132 | 139 | 339 | 
| ZK15F-B2 | 1800 | 600 | III | 270-1580 | 160 | 1265 | 1130 | 930 | 191 | 710 | 198 | 180 | 362 |