Поворотный универсальный захват с вилами — многофункциональная навеска «3-в-1», которая совмещает вилы, прижимные плиты и узел поворота. Позволяет работать как с паллетными грузами, так и с безпаллетными штабелями (короба, ящики, кипы), а при необходимости — повернуть или аккуратно опрокинуть тару для чистой выгрузки.
Что даёт этой навеске склад
Один инструмент вместо нескольких: быстро переключаетесь между «вилы → прижим → поворот/опрокидывание» без смены навески.
Быстрый и чистый цикл: меньше манёвров, аккуратная подача к месту укладки, сниженный риск повреждений тары.
Гибкость для смешанных потоков (FMCG, напитки, бумага/картон, переработка, e-commerce).
Жёсткая рама, защищённая гидравлика и предсказуемая кинематика — надёжно в интенсивных сменах.
Опции и исполнение
Поворот до 360° (по модификации), боковое смещение, разные типы накладок (резина/PU), быстросъём/регулировка вил, варианты длины и сечения вил.
Плиты/лапы под ваш формат упаковки; ограничители и клапаны безопасности.
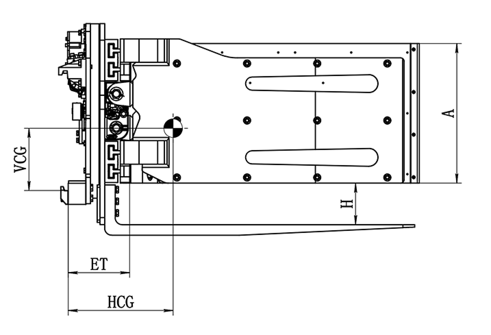
| Артикул | Г/п, кг | Центр тяж., мм | Класс каретки | Диап. раскр. O, мм | Удал. вил F, мм | Выс. лап A, мм | Длина лап B, мм | Шир. рамы C, мм | Межкрюк. расст. D, мм | Размеры вил, мм | Толщ. лап E, мм | Вес, кг | Толщ. ET, мм | Верт. центр тяж. VCG, мм | Гор. центр тяж. HCG, мм | Г/п погруз., т |
| GJ16RT-A2 | 1600 | 600 | II | 540-1770 | 762 | 600 | 1235 | 940 | 814 | 45x100x1280 | 155 | 960 | 264 | 264 | 441 | 1-2.5 |
| GJ16RT-B2 | 1600 | 600 | III | 540-1770 | 674/804/934 | 600 | 1235 | 940 | 814 | 45x122x1280 | 177 | 990 | 260 | 265 | 442 | 3-4.5 |
| GJ16RT-B3 | 1600 | 600 | III | 550-1780 | 500/630 | 450 | 1220 | 940 | 814 | 45x122x1280 | 50 | 930 | 260 | 239 | 420 | 3-4.5 |
| GJ16RT-B4 | 1600 | 600 | III | 580-1810 | 660/790 | 450 | 1220 | 940 | 814 | 45x122x1280 | 50 | 880 | 260 | 238 | 388 | 3-4.5 |