 
     
                            Ротатор серии J — полноповоротная навеска для аккуратного опрокидывания контейнеров и дозированной выгрузки. Вращение на 360° позволяет ориентировать тару под нужным углом, снижая потери и риск повреждений. Работает со стандартными вилами — фиксация через квадратные упоры; востребован в пищевой, химической, санитарной, перерабатывающей и литейной отраслях.
Что даёт серия J
Быстрая и чистая разгрузка: меньше манёвров, меньше рассыпаний.
Жёсткая рама и надёжная кинематика — для интенсивных смен.
Управление из кабины; подбор под класс каретки FEM/ISO.
 
                             
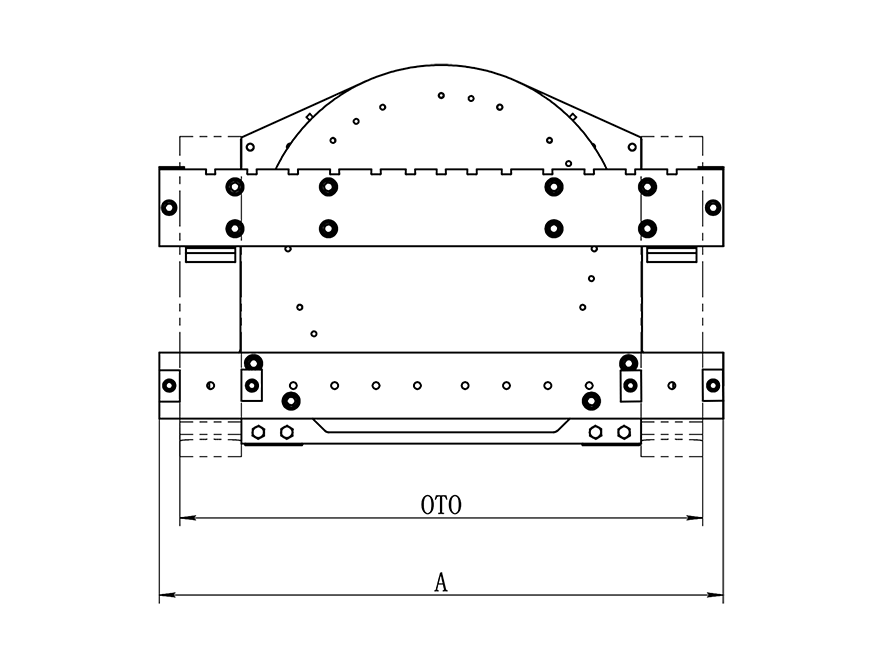
                            | Артикул | Г/п, кг | Центр тяж., мм | Общ. шир. C, мм | Шир. каретки B | Шир. кармана вил, мм | Макс. расст. вил OTO, мм | Класс каретки | Толщ. ET, мм | Гор. центр тяж. HCG, мм | Верт. центр тяж. VCG, мм | Вес, кг | Г/п погруз., т | 
| XZ17J-A1 | 1700 | 500 | 840 | 815 | 100 | 712 | II/II | 128 | 68 | 260 | 195 | 1-2.5 | 
| XZ22J-A1 | 2200 | 500 | 1180 | 1145 | 100/122 | 1040 | II/II | 189 | 125 | 310 | 293 | 1-2.5 | 
| XZ22J-A2 | 2200 | 500 | 975 | 942 | 100/122 | 840 | II/II | 189 | 125 | 305 | 279 | 1-2.5 | 
| XZ22J-A3 | 2200 | 500 | 840 | 815 | 100/122 | 713 | II/II | 189 | 125 | 305 | 335 | 1-2.5 | 
| XZ22J-B1 | 2200 | 500 | 970 | 942 | 100/122 | 840 | III/II | 189 | 125 | 305 | 342 | 3-3.5 | 
| XZ30J-B1 | 3000 | 500 | 1180 | 1145 | 125 | 1060 | III/III | 202 | 125 | 292 | 392 | 3-4.5 | 
| XZ30J-B2 | 3000 | 500 | 1410 | 1375 | 125 | 1290 | III/III | 202 | 125 | 292 | 415 | 3-4.5 | 
| XZ30J-B3 | 3000 | 500 | 1180 | 1145 | 125/100 | 1065 | III/II | 202 | 125 | 310 | 331 | 3-4.5 | 
| XZ30J-B4 | 3000 | 500 | 1305 | 1270 | 125 | 1158 | III/III | 202 | 125 | 292 | 406 | 3-4.5 | 
| XZ30J-B5 | 3000 | 500 | 1363 | 1343 | 125 | 1260 | III/III | 202 | 125 | 292 | 412 | 3-4.5 | 
| XZ35J-B1 | 3500 | 500 | 1275 | 1240 | 125/150 | 1157 | III/III | 207 | 138 | 295 | 415 | 3-4.5 | 
| XZ35J-B2 | 3500 | 500 | 1100 | 1065 | 125/150 | 925 | III/III | 207 | 135 | 280 | 398 | 3-4.5 | 
| XZ35J-B3 | 3500 | 500 | 1633 | 1600 | 125/150 | 1500 | III/III | 207 | 138 | 295 | 476 | 3-4.5 | 
| XZ35J-B4 | 3500 | 500 | 1275 | 1240 | 125/150 | 1135 | III/III | 207 | 135 | 322 | 406 | 3-4.5 | 
| XZ45J-B1 | 4500 | 500 | 1600 | 1575 | 125/150 | 1445 | III/III | 220 | 139 | 322 | 610 | 3-4.5 | 
| XZ45J-B2 | 4500 | 500 | 1341 | 1300 | 125/150 | 1200 | III/III | 220 | 135 | 280 | 572 | 3-4.5 | 
| XZ45J-B3 | 4500 | 500 | 1585 | 1550 | 125/150 | 1470 | III/IV | 183 | 102 | 300 | 603 | 3-4.5 | 
| XZ45J-B4 | 4500 | 500 | 1560 | 1525 | 125 | 1413 | III/III | 220 | 135 | 322 | 685 | 3-4.5 | 
| XZ60J-C1 | 5400 | 500 | 1585 | 1550 | 150 | 1470 | IV/IV | 233 | 139 | 322 | 667 | 5-7 | 
| XZ60J-C2 | 5400 | 500 | 1149 | 1115 | 150/125 | 985 | IV/III | 233 | 139 | 322 | 623 | 5-7 | 
| XZ60J-C3 | 5400 | 500 | 1609 | 1575 | 150/125 | 1445 | IV/III | 233 | 139 | 322 | 679 | 5-7 | 
| XZ60J-C4 | 5400 | 500 | 1735 | 1700 | 150 | 1612 | IV/IV | 233 | 139 | 322 | 689 | 5-7 | 
| XZ60J-C5 | 5400 | 500 | 1815 | 1780 | 150 | 1700 | IV/IV | 233 | 139 | 322 | 735 | 5-7 |