 
     
                            Вилочный Push-Pull — навеска для работы с грузами без поддонов на подкладочных листах (slip-sheet), которая сохраняет ваши вилы в деле. Механизм «толкать/тянуть» с захватом листа позволяет быстро подтянуть груз на плиты и так же быстро «вытолкнуть» его в кузов или контейнер. Вы переходите между паллетной и безподдонной обработкой без смены навески — меньше простоев, больше полезного объёма и экономия на таре.
Преимущества
Рост производительности: меньше манёвров, быстрый цикл погрузки/выгрузки.
Снижение расходов: отказ от паллет на экспортных и внутрискладских потоках.
Бережная обработка: плавное движение, аккуратная работа с коробами и мешками.
Хорошая обзорность и жёсткая конструкция для интенсивных смен.
Совместимость и подключение
Устанавливается на каретки FEM/ISO (модель подбирается под ваш погрузчик). Требуется гидроконтур на работу захвата и привода «push/pull». Доступны версии под разные форматы листов и массы грузов.
 
                             
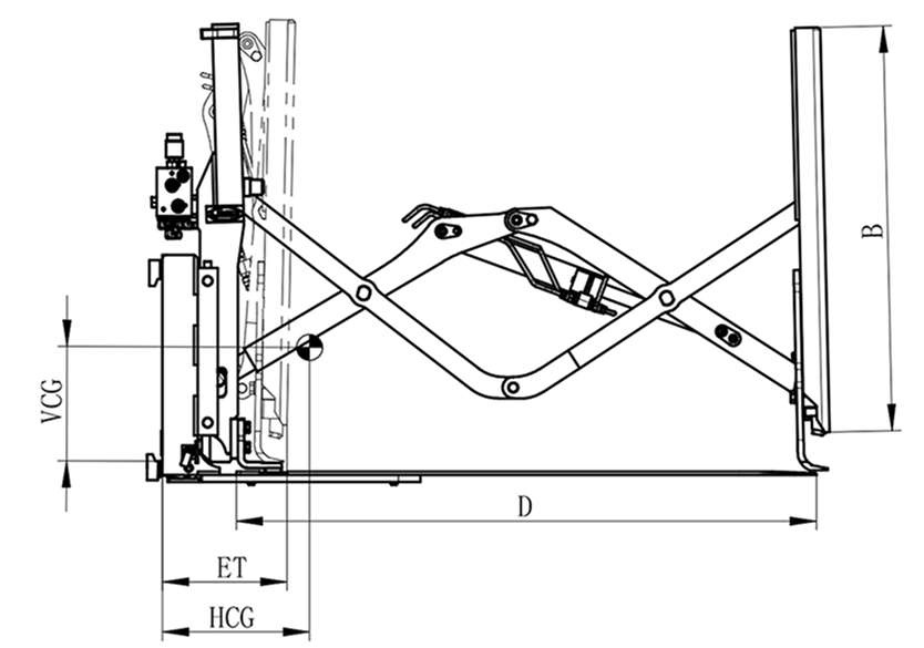
                            | Артикул | Г/п, кг | Центр тяж., мм | Класс каретки | Раб. диап. C, мм | Выс.xШир. толкателя BxA, мм | Мин. шир. каретки E, мм | A, мм | Толщ. ET, мм | Гор. центр тяж. HCG, мм | Вес, кг | Г/п погруз., т | 
| TL16B-A4 | 1600 | 500 | II | 1230 | 986×1014 | 940 | 1160 | 305 | 296 | 615 | 1-2.5 | 
| TL16B-B2 | 1600 | 500 | III | 1350 | 1050×1014 | 900 | 1250 | 305 | 360 | 670 | 3-4.5 | 
| TL16B-B4 | 1600 | 500 | III | 1230 | 1200×1200 | 950 | 1170 | 305 | 300 | 750 | 3-4.5 |