 
     
                            Позиционер вил серии H — решение «два в одном»: из кабины оператор точно регулирует межвильное расстояние и, при необходимости, выполняет боковое смещение каретки (sideshift) без перестановки погрузчика. Серия H создана для интенсивных смен: усиленная рама, синхронизированный привод и защищённая гидравлика обеспечивают плавный, равномерный ход под нагрузкой.
Что даёт серия H
Быстрая подстройка под паллеты разных стандартов.
Меньше манёвров, выше скорость и точность.
Снижение повреждений тары и стеллажей, безопаснее работа.
Совместимость и подключение
Подходит для кареток FEM/ISO II–IV (модель подбирается под ваш погрузчик). Требуется гидроконтур позиционирования; для версии с сайдшифтом — 1–2 контура либо встроенный клапанный блок (зависит от модификации). Минимальные потери по остаточной грузоподъёмности при корректном подборе.
Идеален для рамп, узких проходов и комплектации заказов.
 
                             
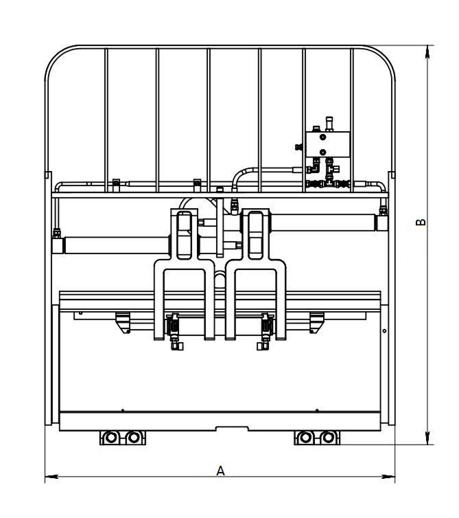
                            | Артикул | Г/п, кг | Центр тяж., мм | Класс каретки | Диап. раскр., мм | Общее смещ., мм | Шир. кармана вил | Мин. шир. каретки, мм | Общая шир. A, мм | Выс. каретки B, мм | Вес, кг | Толщ. ET, мм | Верт. центр тяж. VCG, мм | Гор. центр тяж. HCG, мм | Г/п погруз., т | 
| TC18G-A1 | 1800 | 500 | II | 100-900 | 100 | 895 | 1018 | 1245 | 135 | 63 | 472 | 50 | 1-1.8 | |
| TC25G-A1 | 2500 | 500 | II | 100-970 | 100 | 895 | 1088 | 1245 | 148 | 63 | 472 | 50 | 2-2.5 | |
| TC25G-A2 | 2500 | 500 | II | 100-970 | 122 | 895 | 1088 | 1245 | 148 | 63 | 472 | 50 | 2-2.5 | |
| TC30G-B1 | 3000 | 500 | III | 100-1125 | 125 | 930 | 1248 | 1336 | 186 | 68 | 501 | 50 | 3-3.5 | |
| TC30G-B2 | 3000 | 500 | III | 100-1025 | 125 | 930 | 1148 | 1336 | 178 | 68 | 501 | 50 | 3-3.5 | |
| TC35G-B1 | 3500 | 500 | III | 100-1025 | 150 | 930 | 1148 | 1336 | 181 | 68 | 501 | 50 | 3-3.5 | |
| TC45G-B1 | 4500 | 500 | III | 100-1300 | 150 | 1080 | 1428 | 1343 | 256 | 73 | 533 | 50 | 4-4.5 | |
| TC70G-C1 | 6800 | 600 | IV | 120-1750 | 150 | 1420 | 1905 | 1452 | 553 | 75 | 559 | 57 | 5-7 | |
| TY18G-A1 | 1800 | 500 | II | 100-900 | ±100 | 100 | 895 | 1018 | 1245 | 139 | 62 | 472 | 50 | 1-1.8 | 
| TY25G-A3 | 2500 | 500 | II | 100-1230 | ±100 | 100 | 1090 | 1348 | 1245 | 178 | 62 | 472 | 50 | 2-2.5 | 
| TY25G-A5 | 2500 | 500 | II | 100-970 | ±100 | 122 | 940 | 1088 | 1245 | 152 | 62 | 472 | 50 | 2-2.5 | 
| TY30G-B1 | 3000 | 500 | III | 100-1025 | ±100 | 125 | 970 | 1148 | 1336 | 182 | 68 | 501 | 50 | 3-3.5 | 
| TY30G-B2 | 3000 | 500 | III | 100-1125 | ±100 | 125 | 1070 | 1248 | 1336 | 190 | 68 | 501 | 50 | 3-3.5 | 
| TY30G-B4 | 3000 | 500 | III | 100-1440 | ±100 | 125 | 1400 | 1568 | 1336 | 215 | 68 | 501 | 50 | 3-3.5 | 
| TY35G-B1 | 3500 | 500 | III | 100-1025 | ±100 | 125 | 970 | 1148 | 1336 | 185 | 68 | 501 | 50 | 3-3.5 | 
| TY45G-B1 | 4500 | 500 | III | 100-1300 | ±100 | 125 | 1180 | 1428 | 1345 | 260 | 73 | 533 | 50 | 4-4.5 | 
| TY45G-B3 | 4500 | 500 | III | 100-1620 | ±100 | 125 | 1400 | 1748 | 1345 | 280 | 73 | 533 | 56 | 4-4.5 | 
| TY45G-B4 | 4500 | 500 | III | 100-1810 | ±100 | 125 | 1600 | 1968 | 1345 | 398 | 78 | 533 | 57 | 4-4.5 | 
| TY50G-C1 | 5000 | 600 | IV | 120-1290 | ±100 | 125 | 1180 | 1440 | 1418 | 421 | 84 | 559 | 62 | 5 | 
| TY70G-C1 | 6800 | 600 | IV | 120-1750 | ±150 | 125 | 1525 | 1905 | 1418 | 550 | 84 | 559 | 57 | 5-7 | 
| TY70G-C2 | 6800 | 600 | IV | 115-1850 | ±150 | 125 | 1525 | 2000 | 1300 | 555 | 84 | 559 | 57 | 5-7 |