 
     
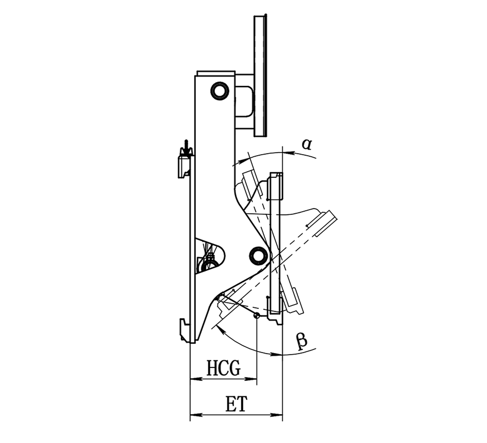
                            Экономичный опрокидыватель — практичное решение для быстрой, чистой и безопасной разгрузки контейнеров и бункеров без лишних манёвров. Узел наклона даёт большой рабочий диапазон: вниз до 45–50° и вверх до 20–25° (в зависимости от модификации), поэтому ёмкость «вычищается» полностью, а груз надёжно фиксируется при подъезде и транспортировке.
Почему это выгодно
Ускоряет цикл, снижает потери материала и риск повреждений тары.
Жёсткая рама и защищённая гидравлика рассчитаны на интенсивную работу.
Простая компоновка и понятное обслуживание — минимум простоев.
 
                             
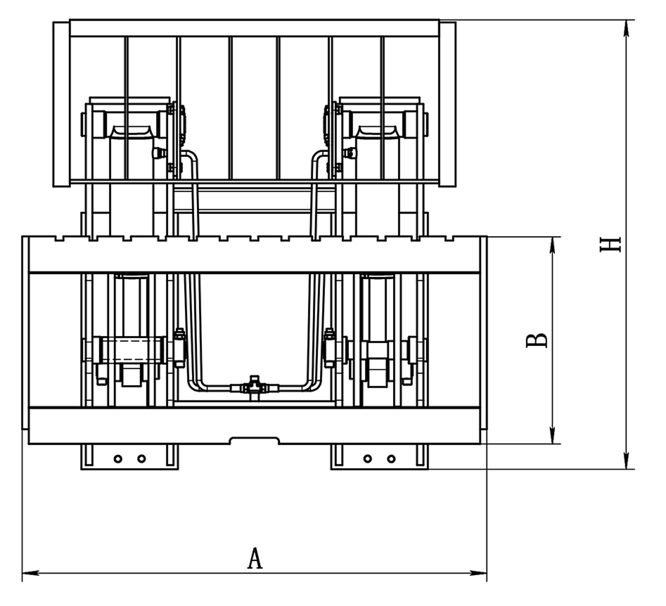
                            | Артикул | Г/п, кг | Центр тяж., мм | Класс каретки | Класс вил | Блок цилиндров | Шир. кар. A, мм | Выс. кар. B, мм | Общ. выс., мм | Наклон вниз/вверх | Толщ. ET, мм | Гор. центр тяж. HCG, мм | Вес, кг | Г/п погруз., т | 
| QF20F-A3-01 | 2000 | 500 | II | II | Двойной | 1100 | 407 | 1123 | 45°/20° | 335 | 165 | 251 | 1-2.5 | 
| QF30J-B5 | 3000 | 500 | III | III | Двойной | 1132 | 506 | 1110 | 45°/20° | 340 | 155 | 295 | 3-4.5 | 
| QF30F-B2 | 3500 | 500 | III | III | Двойной | 1132 | 506 | 1095 | 50°/20° | 305 | 155 | 275 | 3-4.5 |