 
     
                             
                             
                             
                             
                             
                            Cамоходная тележка Noblelift PT20Li – это современное складское решение, объединяющее высокую производительность, энергоэффективность и компактность. Благодаря использованию передовой литий-ионной технологии, модель обеспечивает длительное время работы, быструю подзарядку и минимальные эксплуатационные затраты.
С грузоподъёмностью до 2000 кг, PT20Li уверенно справляется с перемещением тяжёлых паллет даже в условиях интенсивной эксплуатации. Компактная конструкция и небольшой радиус разворота позволяют использовать тележку в узких проходах и местах с ограниченным пространством.
Модель оснащена интуитивной системой управления, которая облегчает процесс маневрирования и повышает точность позиционирования груза. Продуманная система безопасности и прочная конструкция гарантируют защиту оператора и долговечность оборудования.
 
                                                
                        
                     
                             
                            | Основные параметры | 1.2 | Модель | PT20Li | |
| 1.3 | Привод: электрический (тип: аккумулятор, сеть,…), дизельный, бензиновый, газовый | Электрический (аккумулятор) | ||
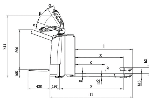
| 1.4 | Положение оператора | Пеший/На платформе | ||
| 1.5 | Грузоподъемность | Q (кг) | 2000 | |
| 1.6 | Центр загрузки | c (мм) | 600 | |
| 1.8 | Расстояние от центра оси до вил | x (мм) | 899 * | |
| 1.9 | Колесная база | y (мм) | 1206 * | |
| Массы | 2.1 | Масса | кг | 505 | 
| 2.2 | Нагрузка на переднюю/заднюю ось с грузом | кг | 695/1810 | |
| 2.3 | Нагрузка на переднюю/заднюю ось без груза | кг | 385/120 | |
| Колеса, ходовая часть | 3.1 | Тип колес | Полиуретан (PU) | |
| 3.2 | Размер передних (ведущих) колес | Ø230×70 | ||
| 3.3 | Размер задних колес | Ø82×82 | ||
| 3.4 | Дополнительные колеса | Ø100×40 | ||
| 3.5 | Количество колес спереди/сзади (х-ведущие) | 1x + 2/2 или 4 | ||
| 3.6 | Колея передних колес | b10 (мм) | 520 | |
| 3.7 | Колея задних колес | b11 (мм) | 360 | |
| Размеры | 4.4 | Высота подъема | h3 (мм) | 120 | 
| 4.9 | Высота ручки (min/max) | h14 (мм) | 1070/1260 | |
| 4.15 | Высота вил в нижнем положении | h13 (мм) | 85 | |
| 4.19 | Общая длина | l1 (мм) | 1655 | |
| 4.20 | Длина до фронта вил | l2 (мм) | 505 | |
| 4.21 | Общая ширина | b1 (мм) | 730 | |
| 4.22 | Размеры вил | s/e/l (мм) | 60/180/1150 | |
| 4.25 | Ширина установки вил | b5 (мм) | 540/685 | |
| 4.32 | Дорожный просвет в центре базы | m2 (мм) | 25 | |
| 4.34 | Ширина прохода с паллетой 800×1200 | Ast (мм) | 2086 * | |
| 4.35 | Радиус разворота | Wa (мм) | 1422 * | |
| Характеристики | 5.1 | Скорость движения (с грузом/ без груза) | км/ч | 7/8 | 
| 5.2 | Скорость подъема (с грузом/ без груза) | мм/с | 47/64 | |
| 5.3 | Скорость движения вил вниз (с грузом/ без груза) | мм/с | 60/59 | |
| 5.8 | Преодолимый уклон max (с грузом/ без груза) | % | 8/15 | |
| 5.10 | Тормозная система | Рекуперативная | ||
| Параметры электрической системы | 6.1 | Мощность двигателя движения | кВт | 1,4 | 
| 6.2 | Мощность двигателя подъема | кВт | 2,2 | |
| 6.4 | Напряжение питания, номинальная емкость АКБ | В/ А∙ч | 24/ 150 | |
| 6.5 | Масса АКБ | кг | 80 | |
| 6.6 | Потребление энергии в соотв. с циклом VDI | кВт∙ч/ч | 0,188 | |
| Другое | 8.1 | Тип управления ходом | AC-speed control | |
| 8.4 | Уровень шума | дБ(А) | <70 | 
 
                                 
                                 
                                 
                                