 
     
                             
                             
                             
                             
                             
                            Cамоходная тележка Noblelift PT20D – это высокопроизводительное решение для одновременной транспортировки двух паллет, созданное для работы в условиях интенсивного грузопотока. Модель сочетает в себе мощный электропривод, прочную конструкцию и продуманную эргономику, что позволяет оператору работать быстрее, безопаснее и с меньшими физическими нагрузками.
Благодаря грузоподъёмности до 2000 кг и увеличенной рабочей платформе, PT20D идеально подходит для крупных складов, логистических центров и дистрибуционных комплексов, где важны высокая производительность и экономия времени при перемещении грузов.
Конструкция тележки обеспечивает отличную устойчивость даже при движении с двойной загрузкой. Компактный радиус разворота позволяет эффективно работать в ограниченном пространстве, а современная аккумуляторная система гарантирует длительное время автономной работы без потери мощности.
 
                             
                            | Основные параметры | 1.2 | Модель | PT20D (1400) | PT 20D (1800) | PT 20D (2300) | |
| 1.3 | Привод: электрический (тип: аккумулятор, сеть,…), дизельный, бензиновый, газовый | Электрический (аккумулятор) | Электрический (аккумулятор) | Электрический (аккумулятор) | ||
| 1.4 | Положение оператора | Пеший | Пеший | Пеший | ||
| Грузоподъемность при подъеме груза на вилах | Q (кг) | 1000* | 1000* | 1000* | ||
| Грузоподъемность при подъеме груза на опорных вилах | Q (кг) | 2000* | 2000* | 2000* | ||
| 1.6 | Центр загрузки | c (мм) | 600 | 600 | 600 | |
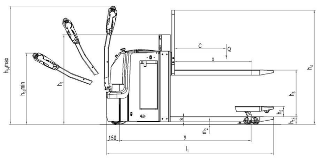
| 1.8 | Расстояние от центра оси до вил | x (мм) | 916 | 916 | 916 | |
| 1.9 | Колесная база | y (мм) | 1532 | 1532 | 1532 | |
| Массы | 2.1 | Масса | кг | 990 | 1010 | 1060 | 
| 2.2 | Нагрузка на переднюю/заднюю ось с грузом | кг | 880/ 2110 | 890/ 2120 | 925/ 2135 | |
| 2.3 | Нагрузка на переднюю/заднюю ось без груза | кг | 648/ 342 | 658/ 352 | 695/ 365 | |
| Колеса, ходовая часть | 3.1 | Тип колес | Полиуретан (PU) | Полиуретан (PU) | Полиуретан (PU) | |
| 3.2 | Размер передних (ведущих) колес | Ø230×70 | Ø230×70 | Ø230×70 | ||
| 3.3 | Размер задних колес | Ø80×70 | Ø80×70 | Ø80×70 | ||
| 3.4 | Дополнительные колеса | Ø100×40 | Ø100×40 | Ø100×40 | ||
| 3.5 | Количество колес спереди/сзади (х-ведущие) | 1x+2/4 | 1x+2/4 | 1x+2/4 | ||
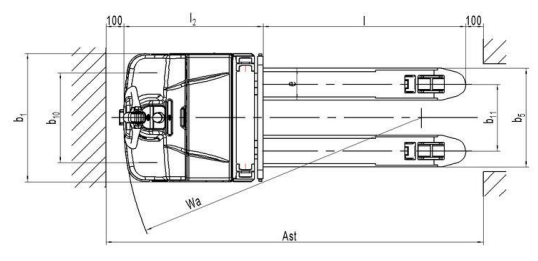
| 3.6 | Колея передних колес | b10 (мм) | 510 | 510 | 510 | |
| 3.7 | Колея задних колес | b11 (мм) | 380 | 380 | 380 | |
| Размеры | 4.2 | Габаритная высота (min) | h1 (мм) | 1178 | 1378 | 1378 | 
| 4.4 | Высота подъема | h3 (мм) | 1400 | 1800 | 2300 | |
| 4.5 | Габаритная высота (max) | h4 (мм) | 2528 | 2928 | 2928 | |
| 4.6 | Начальный подъем | h5 (мм) | 120 | 120 | 120 | |
| 4.9 | Высота ручки (min/max) | h14 (мм) | 820/ 1335 | 820/ 1335 | 820/ 1335 | |
| 4.15 | Высота вил в нижнем положении | h13 (мм) | 88 | 88 | 88 | |
| 4.19 | Общая длина | l1 (мм) | 1940 | 1940 | 1955 | |
| 4.20 | Длина до фронта вил | l2 (мм) | 790 | 790 | 790 | |
| 4.21 | Общая ширина | b1 (мм) | 729 | 729 | 729 | |
| 4.22 | Размеры вил | s/e/l (мм) | 60/ 180/ 1150 | 60/ 180/ 1150 | 60/ 180/ 1150 | |
| 4.25 | Ширина установки вил | b5 (мм) | 560/ 530 | 560/ 530 | 560/ 530 | |
| 4.32 | Дорожный просвет в центре базы | m2 (мм) | 28 | 28 | 28 | |
| 4.33 | Ширина прохода с паллетой 1000×1200 | Ast (мм) | 2040 | 2040 | 2155 | |
| 4.34 | Ширина прохода с паллетой 800×1200 | Ast (мм) | 2190 | 2190 | 2205 | |
| 4.35 | Радиус разворота | Wa (мм) | 1682 | 1682 | 1682 | |
| Характеристики | 5.1 | Скорость движения (с грузом/ без груза) | км/ч | 6,0/6,0 | 6,0/6,0 | 6,0/6,0 | 
| 5.2 | Скорость подъема (с грузом/ без груза) | мм/с | 85/140 | 85/140 | 85/140 | |
| 5.3 | Скорость движения вил вниз (с грузом/ без груза) | мм/с | 80/65 | 80/65 | 80/65 | |
| 5.8 | Преодолимый уклон max (с грузом/ без груза) | % | 8/20 | 8/20 | 8/20 | |
| 5.10 | Тормозная система | Электромагнитный тормоз | Электромагнитный тормоз | Электромагнитный тормоз | ||
| Параметры электрической системы | 6.1 | Мощность двигателя движения | кВт | 1,3 | 1,3 | 1,3 | 
| 6.2 | Мощность двигателя подъема | кВт | 2,2 | 2,2 | 2,2 | |
| 6.3 | Стандарт АКБ | 3VBS | 3VBS | 3VBS | ||
| 6.4 | Напряжение питания, номинальная емкость АКБ | В/ А∙ч | 24/ 210 | 24/ 210 | 24/ 210 | |
| 6.5 | Масса АКБ | кг | 185 | 185 | 185 | |
| 6.6 | Потребление энергии в соотв. с циклом VDI | кВт∙ч/ч | 1,0 | 1,0 | 1,0 | |
| Другое | 8.1 | Тип управления ходом | AC | AC | AC | |
| 8.4 | Уровень шума | дБ(А) | <70 | <70 | <70 | 
 
                                 
                                 
                                 
                                