 
     
                             
                             
                             
                             
                            Гидравлическая тележка Noblelift RTT12 предназначена для перевозки грузов по неровным покрытиям и пересечённой местности, где стандартные «роклы» не справляются. Благодаря крупным пневматическим колесам и прочной усиленной конструкции, RTT12 легко передвигается по щебню, асфальтовой крошке, плитке с широкими швами и даже по грунту.
Эта модель сочетает в себе удобство классической гидравлической тележки и возможности техники для работы в сложных условиях. RTT12 активно применяется на стройплощадках, в сельском хозяйстве, на складах открытого типа, в логистике и местах, где поддоны приходится перемещать по «неидеальному» полу или уличным покрытиям.
 
                             
                            | Основные параметры | 1.2 | Модель | RTT12 | |
| 1.5 | Грузоподъемность | Q (кг) | 1200 | |
| 1.6 | Центр загрузки | c (мм) | 450 | |
| Массы | 2.1 | Масса | кг | 225 | 
| Колеса, ходовая часть | 3.2 | Размер передних (ведущих) колес | Ø550×132 | |
| 3.3 | Размер задних колес | Ø265×80 | ||
| 3.6 | Колея передних колес | b10 (мм) | 1277 | |
| Размеры | 4.4 | Высота подъема | h3 (мм) | 170 | 
| 4.14 | Высота вил в поднятом положении | h23 (мм) | 233 | |
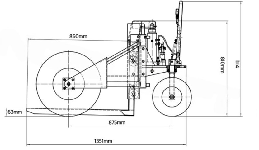
| 4.15 | Высота вил в нижнем положении | h13 (мм) | 63 | |
| 4.19 | Общая длина | l1 (мм) | 1375 | |
| 4.21 | Общая ширина | b1 (мм) | 1605 | |
| Общая высота | мм | 1200 | ||
| 4.22 | Размеры вил | s/e/l (мм) | 35/100/860 | |
| 4.25 | Ширина установки вил | b5 (мм) | 228-735 | 
 
                                 
                                 
                                 
                                